研發人才登入
關於我們
聯絡我們
Toggle navigation
首頁
技術櫥窗
研發人才
專利技術推廣
專利讓售專區
快速搜尋
搜尋全部
研發人才
專利技術
●
技術名稱 Technology
●
發明人 Inventor
江茂雄
, 周宏政,
●
所有權人 Asignee
國立台灣科技大學
●
專利國家 Country
申請號 Application No.
專利號 Patent No.
中心案號 Serial No.
中華民國
096127750
I360464
0950102TW0
點閱數:1214
技術摘要:
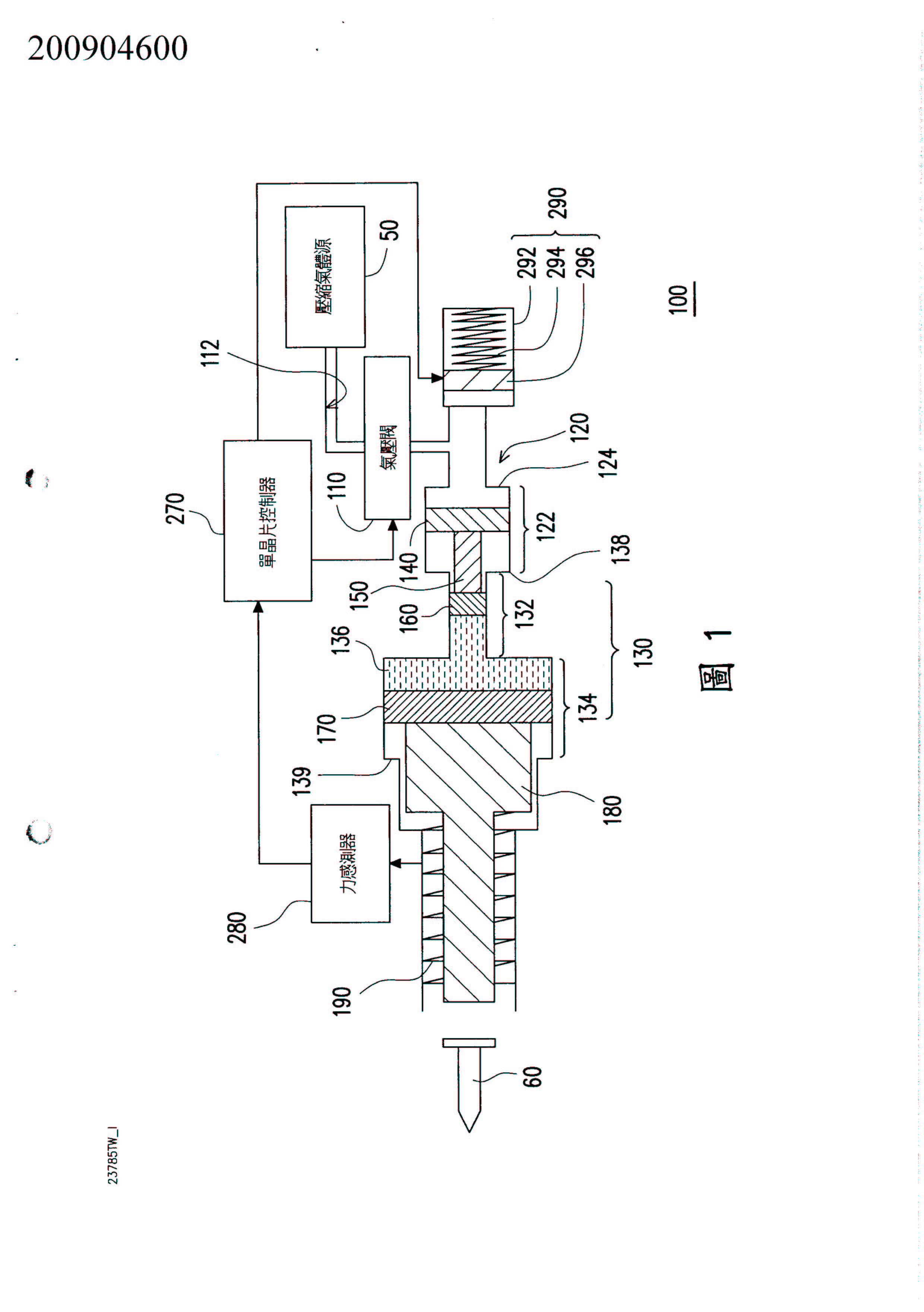
一種氣-液混合驅動釘槍,包括一氣壓閥、一氣壓缸、一液壓缸、一第一活塞、一第二活塞、一第三活塞、一第一活塞桿、一第二活塞桿以及一回復元件。
相關圖片: